RU155242U1 — Клапан регулирующий с осевым запором с ползуном — Google Patents
Publication number RU155242U1 RU155242U1 RU2015102914/06U RU2015102914U RU155242U1 RU 155242 U1 RU155242 U1 RU 155242U1 RU 2015102914/06 U RU2015102914/06 U RU 2015102914/06U RU 2015102914 U RU2015102914 U RU 2015102914U RU 155242 U1 RU155242 U1 RU 155242U1 Authority RU Russia Prior art keywords lock valve slider center spindle Prior art date 2015-01-29 Application number RU2015102914/06U Other languages English ( en ) Inventor Юрий Арсентьевич Чашков Роман Юрьевич Чашков Original Assignee Юрий Арсентьевич Чашков Роман Юрьевич Чашков Priority date (The priority date is an assumption and is not a legal conclusion. Google has not performed a legal analysis and makes no representation as to the accuracy of the date listed.) 2015-01-29 Filing date 2015-01-29 Publication date 2015-09-27 2015-01-29 Application filed by Юрий Арсентьевич Чашков, Роман Юрьевич Чашков filed Critical Юрий Арсентьевич Чашков 2015-01-29 Priority to RU2015102914/06U priority Critical patent/RU155242U1/ru 2015-09-27 Application granted granted Critical 2015-09-27 Publication of RU155242U1 publication Critical patent/RU155242U1/ru
Links
Images
Abstract
Клапан регулирующий с осевым запором с ползуном, содержащий корпус, крышку с посадочным седлом и подвижный запор, отличающийся тем, что внутри корпуса закреплена осесимметрично на обтекаемых пилонах втулка, внутри которой перемещается запор за счет движения ползуна в наклонных пазах в продольных стенках прямоугольного отверстия по диаметру в центре запора, при вращении установленного в пилоне шпинделя с резьбой проходящего через центр ползуна.
Description
Полезная модель клапан регулирующий с осевым запором с ползуном относится к трубопроводной арматуре, в частности к регулирующим клапанам осевого типа, предназначенным для управления потоками жидких и газообразных сред в трубопроводах для перекачки жидких и газовых сред, в том числе загрязненных, для регулирования давления на нагнетательных трубопроводах и может использоваться в сфере ЖКХ и различных отраслях промышленности газовой, нефтяной, химической, металлургической. Клапан регулирующий с осевым запором с ползуном, устанавливаемый в трубопроводе, состоит из корпуса и проходной крышки с запорным седлом. Внутри корпуса клапана осесимметрично закреплена на обтекаемых пилонах втулка, внутри которой перемещается запор с помощью ползуна с резьбой и винтового привода-шпинделя, проходящего внутри одного пилона наружу корпуса. Внутри проходной крышки установлено запорное седло, позволяющее перекрывать или регулировать поток жидкости или газа в зависимости от положения перемещаемого запора. Полезная модель направлена на упрощение конструкции клапанов, повышение надежности, устранение кавитации и шума от перетекания жидкости. Данная конструкция позволяет значительно снизить усилие на перемещение затвора при открытии и закрытии, позволяет выполнить клапан, как с ручным, так и механическим приводом.
Регулирующие клапаны осевого типа отличаются от других видов клапанов и имеют следующие особенности:
— спрямленное осесимметричное и обтекающее препятствия течение среды через полно-проходной расширенный корпус клапана, что исключает турбулентность;
— за счет отсутствия турбулентности устраняется эрозионный износ поверхностей и вибрация;
— внутри клапан разгружен по давлению, что определяет высокую точность регулирования при минимальной степени открытия. Это позволяет использовать для крупногабаритных клапанов небольшие приводы;
— пропускная способность клапана данного типа на 50-100% больше, чем у обычного седельного клапана, что позволяет выбрать клапан меньшего размера;
— благодаря большой пропускной способности в сочетании с точностью регулирования возможно использование одного клапана в широком диапазоне рабочих режимов;
— повышенная экологическая безопасность: динамический шум от корпуса минимален.
Наиболее близким техническим решением является клапан регулирующий по Патенту РФ №2476742, кл. F16K 1/12., где указанный результат достигается тем, что клапан регулирующий осевого типа, устанавливаемый в трубопроводе и состоящий из корпуса с входным и выходным отверстиями, в корпусе высверлены центральное для поршня и коаксиально расположенные по отношению к нему периферийные сквозные отверстия для протока жидкости, переходящие в полость диффузора, образованного регулирующей втулкой и размещенным в ней седлом, установленным на выходном отверстии корпуса, при этом рабочие торцы поршня выполнены переменного сечения. Поршень, размещенный в центральном отверстии, связан со шпинделем посредством эксцентрика. Шпиндель и поршень могут быть соединены между собой посредством реечной передачи. Указанный клапан имеет недостатки: необходимость отливать корпус с последующим сверлением проходных отверстий, центрального отверстия для поршня и отверстие привода эксцентрика, повышенный износ поверхностей скольжения пальца эксцентрика и его гнезда в поршне под давлением, увеличенный размер диаметра корпуса для получения суммарного проходного сечения всех отверстий равного живому сечению трубопровода, турбулентность потока при его разделении по проходным отверстиям и последующим соединение перед выходным седлом.
Техническим результатом, на достижение которого направлена заявляемая полезная модель, является упрощение конструкции и технологии производства, повышение надежности при эксплуатации при высоких эксплуатационных параметрах рабочей среды, снижение турбулентности потока и, как следствие, уменьшение кавитационного износа поверхностей, пониженный шум.
Указанный технический результат достигается тем, что в клапане регулирующем с осевым запором с ползуном, устанавливаемым в трубопроводе, в центре корпуса соосно закреплена на обтекаемых пилонах втулка, внутри нее перемещается обтекаемый запор, имеющий сменную головку, совпадающую по форме с формой сменного посадочного седла проходной крышки. В центре запора имеется диаметральное сквозное отверстие в форме параллелепипеда с наклонными пазами на длинных сторонах. В пазах перемещается поперек запора ползун с отверстием по центру, в котором вращается резьбовая часть шпинделя, проходящего через полый пилон наружу клапана для управления запором и указанием его положения. Головка запора и седло крышки имеют взаимно сопрягаемые поверхности и могут меняться при износе, в процессе эксплуатации во время технического обслуживания при отсоединении крышки от корпуса.
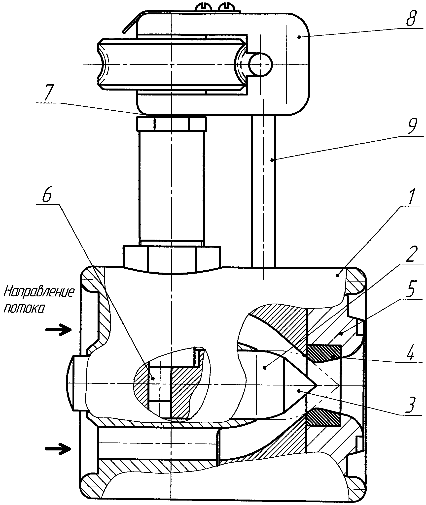
Клапан регулирующий с осевым запором Фиг. 1 содержит корпус 9, проходную крышку 1 со сменным посадочным седлом 2, втулку 5 с обтекаемыми пилонами 6 для крепления ее в центре корпуса. Внутри втулки находится подвижный запор 4 со сменной головкой 3, перемещающийся с помощью ползуна 11 и винтового шпинделя 10, проходящим внутри пилона. Ползун 11 перемещается по наклонным пазам 7, вырезанным на длинных сторонах прямоугольного отверстия, проходящего диаметрально через центр запора. Указатель положения запора и внешний привод шпинделя не показаны.
На Фиг. 2 изображен запор со стороны входа шпинделя в запор: ползун 11, шпиндель 10, прямоугольное отверстие 8, наклонные пазы 7.
На Фиг. 3 изображен ползун 10, представляющий из себя вал диаметром по ширине наклонного паза с отверстием с резьбой по центру для шпинделя.
Клапан регулирующий с осевым запором с ползуном работает следующим образом: на Фиг. 1 вентиль полностью открыт, запор в правом положении, ползун находится в крайнем нижнем положении, текучая среда без препятствий и завихрений проходит через клапан, т.к. площадь сечения трубопроводов и площадь пространства между втулкой и корпусом клапана равны.
При вращении шпинделя 10 ползун 11 начинает подниматься вверх по наклонным пазам запора, двигает его влево, прикрывает клапан и в крайнем левом положении закрывает клапан, прижимая головку запора к седлу крышки клапана. Степень открытия клапана показывает указатель положения затвора снаружи корпуса клапана (на рисунке не показан). Управлять клапаном можно вручную или электро или пневмо приводом, соединенным со шпинделем снаружи клапана. Подвижные детали внутри клапана — поверхность запора, шпиндель, ползун и пазы запора смазываются перекачиваемой жидкостью, сальник на выходе шпинделя из корпуса клапана (на рисунке не показан) предотвращает утечку наружу. На рисунках клапан изображен схематически, при производстве необходимо все детали находящиеся в потоке жидкости изготовить максимально обтекаемыми, без выступов, поверхности головки запора и посадочного седла крышки делают сопрягаемыми, что позволит предотвратить турбулентность даже при малых открываниях клапана. Материал головки запора и посадочного седла подбирают в зависимости от химических и физических свойств перекачиваемых жидкостей, при этом сохраняется базовая конструкция клапана, а при значительном износе меняется только головка запора и седло клапана, отсоединяя крышку клапана от корпуса насоса. Незначительный эксплуатационный износ поверхностей компенсируется дополнительным прижатием затвора к седлу приводом. Использовать этот клапан можно при движении потока в любом направления. Изготовление всех деталей клапана возможно на имеющемся токарном, фрезерном и сверлильном оборудовании, используя существующие технологии производства цельнотянутых труб, не применяя дорогостоящее точное литье под давлением.
Claims ( 1 )
Клапан регулирующий с осевым запором с ползуном, содержащий корпус, крышку с посадочным седлом и подвижный запор, отличающийся тем, что внутри корпуса закреплена осесимметрично на обтекаемых пилонах втулка, внутри которой перемещается запор за счет движения ползуна в наклонных пазах в продольных стенках прямоугольного отверстия по диаметру в центре запора, при вращении установленного в пилоне шпинделя с резьбой проходящего через центр ползуна.

RU2015102914/06U 2015-01-29 2015-01-29 Клапан регулирующий с осевым запором с ползуном RU155242U1 ( ru )
Priority Applications (1)
| Application Number | Priority Date | Filing Date | Title |
|---|---|---|---|
| RU2015102914/06U RU155242U1 ( ru ) | 2015-01-29 | 2015-01-29 | Клапан регулирующий с осевым запором с ползуном |
Applications Claiming Priority (1)
| Application Number | Priority Date | Filing Date | Title |
|---|---|---|---|
| RU2015102914/06U RU155242U1 ( ru ) | 2015-01-29 | 2015-01-29 | Клапан регулирующий с осевым запором с ползуном |
https://patents.google.com/patent/RU155242U1/ru

